晶間腐蝕儀 OCT-4
一、晶間腐蝕簡介??? 晶間腐蝕是金屬局部腐蝕的一種,通常出現于不銹鋼、鋁合金、黃銅和鎳基合金等材料中。晶間腐蝕是沿著金屬晶粒間的分界面向內部擴展的腐蝕。晶間腐蝕的原因是晶粒表面和內部間化學成分的差異以及晶界雜質或內應力的存在。??? 晶間腐蝕會破壞晶粒間的結合,大幅降低金屬的機械強度。晶間腐蝕發生后,金屬和合金的表面雖然仍保持一定的金屬
021-57555126
一、晶間腐蝕簡介??? 晶間腐蝕是金屬局部腐蝕的一種,通常出現于不銹鋼、鋁合金、黃銅和鎳基合金等材料中。晶間腐蝕是沿著金屬晶粒間的分界面向內部擴展的腐蝕。晶間腐蝕的原因是晶粒表面和內部間化學成分的差異以及晶界雜質或內應力的存在。??? 晶間腐蝕會破壞晶粒間的結合,大幅降低金屬的機械強度。晶間腐蝕發生后,金屬和合金的表面雖然仍保持一定的金屬
一、晶間腐蝕產品介紹 |
二、晶間腐蝕綜述
該設備通過加入腐蝕試劑,在不同的溫度下測試不同材料在該環境下的晶間腐蝕情況。
晶間腐蝕,局部腐蝕的一種。沿著金屬晶粒間的分界面向內部擴展的腐蝕。主要由于晶粒表面和內部間化學成分的差異以及晶界雜質或內應力的存在。晶間腐蝕破壞晶粒間的結合,大大降低金屬的機械強度。而且腐蝕發生后金屬和合金的表面仍保持一定的金屬光澤,看不出被破壞的跡象,但晶粒間結合力顯著減弱,力學性能惡化, 不能經受敲擊,所以是一種很危險的腐蝕。通常出現于黃銅、硬鋁合金和一些不銹鋼、鎳基合金中。不銹鋼焊縫的晶間腐蝕是化學工業的一個重大問題。
![]() |
三、晶間腐蝕相關標準:
GB/T 4334.(1~5)-2000不銹鋼晶間腐蝕敏感性試驗方法標準(根據不同材料敏感性選擇相應標準)
GB/T 15260-1994《鎳合金晶間腐蝕敏感性試驗方法標準》
GB/T 21433-2008《不銹鋼壓力容器晶間腐蝕敏感性檢驗》
CB/T 3949-2001 《船用不銹鋼焊接接頭晶間腐蝕試驗方法》
ASTM G28 - 02(2008) Standard Test Methods for Detecting Susceptibility to Intergranular Corrosion in Wrought, Nickel Rich, Chromium Bearing Alloys (中文名稱:《鍛造高鎳鉻軸承合金晶間腐蝕敏感性的檢查用標準試驗方法》
GB/T 7998-2005 《鋁合金晶間腐蝕測定方法》
HG/T 3173-2002 《尿素級超低碳鉻鎳鑰奧氏體不銹鋼晶間腐蝕傾向試驗》
四、晶間腐蝕試驗方法
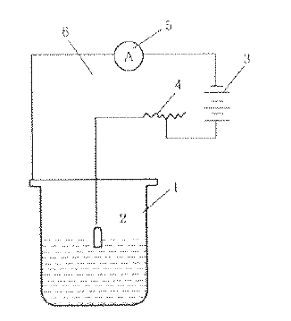
在特定介質條件下檢驗金屬材料晶間腐蝕敏感性的加速金屬腐蝕試驗方法,目的是了解材料的化學成分、熱處理和加工工藝是否合理。其原理是采用可使金屬的腐蝕電位處在恒電位陽極極化曲線特定區間的各種試驗溶液,利用金屬的晶粒和晶界在該電位區間腐蝕電流的顯著差異加速顯示晶間腐蝕。不銹鋼、鋁合金等的晶間腐蝕試驗方法在許多國家均已標準化。各標準對試驗細節均有詳細規定。
| 試驗方法 | 試驗標準 | 試驗周期 | 備注 |
| 不銹鋼晶間腐蝕A法 | GB/T4334-2008 | 4天 | 草酸法 |
| 不銹鋼晶間腐蝕B法 | 7天 | 硫酸-硫酸鐵 120h | |
| 不銹鋼晶間腐蝕C法 | 13-15天 | 硝酸法 5*48h | |
| 不銹鋼晶間腐蝕D法 | 4天 | 硝酸-氫氟酸 2*2h | |
| 不銹鋼晶間腐蝕E法 | 4天 | 硫酸-硫酸銅 16h | |
| 鎳基合金晶間腐蝕A法 | GB/T15260-1994 | 7天 | 硫酸-硫酸鐵 120h |
| 鎳基合金晶間腐蝕B法 | 3(5)天 | 銅-硫酸銅-硫酸 24h或72h | |
| 鎳基合金晶間腐蝕C法 | 10-12天 | 鹽酸法 168h | |
| 鎳基合金晶間腐蝕D法 | 13-15天 | 硝酸法 5*48h |
![]() |
| 產品類 | 規格/mm | 試樣尺寸/mm | 制作試樣數量/個 | ||
| 長 | 寬 | 厚 | |||
| 型鋼 | / | 30 | 20 | 3-4 | 2 |
| 鑄件 | / | 30 | ≤20 | / | 2 |
| 80-100 | ≤20 | / | 4 | ||
| 焊條 | / | 30 | 10 | / | 2 |
| 80-100 | 10 | / | 2 | ||
| 堆焊焊條 | / | 30 | / | / | 2 |
| 80-100 | / | / | 2 | ||
| 焊接接頭 | 單焊縫 | 30 | 20 | 3-4 | 2 |
| 80-100 | 20 | 3-4 | 2 | ||
| 交叉焊縫 | 30 | 20 | 3-4 | 4 | |
| 80-100 | 20-35 | 3-4 | 4 | ||
| 鋼板、帶(扁鋼)型鋼 | 厚度<4 | 30 | 20 | / | 2 |
| 80-100 | 20 | / | 2 | ||
| 厚度>4 | 30 | 20 | 3-4 | 2 | |
| 80-100 | 20 | 3-4 | 4 | ||
| 鋼棒(鋼絲) | 直徑≤10 | 30 | / | / | 2 |
| 80-100 | / | / | 2 | ||
| 直徑>10 | 30 | ≤20 | ≤5 | 2 | |
| 80-100 | ≤20 | ≤5 | 2 | ||
| 無縫鋼管 | 外徑<5 | 30 | / | / | 2 |
| 80-100 | / | / | 2 | ||
| 15≥外徑≥5 | 30 | / | / | 2 | |
| 80-100 | / | / | 2 | ||
| 外徑>15 | 30 | ≤20 | 管壁<4mm | 4 | |
| 管壁≥4mm | 4 | ||||
| 80-100 | ≤20 | 管壁<4mm | 2 | ||
| 管壁≥4mm | 4 | ||||
| 焊管 | 厚度≤4 | 30 | / | 管壁厚 | 2 |
| 80-100 | / | 管壁厚 | 2 | ||
| 厚度>4 | 30 | / | 3-4 | 4 | |
| 80-100 | / | 3-4 | 4 | ||
五、設備工作環境
1、現場實驗室配套環境
2、設備環境大氣壓力:86.0~106.0Kpa
3、設備環境空氣濕度:<85%RH
六、售后服務與質量保證:
發生故障后24小時內予以響應。賣方將以專業的現場服務保證設備的穩定運行,并隨時為用戶提供全面的技術支持及培訓。對于用戶提出的問題,賣方確保盡快予以明確的答復并解決問題。
上述設備的質量保證期為雙方簽訂最終驗收報告之日起1年.
在保質期內, 如產品由于本身質量問題發生故障,賣方將免費進行維修或更換元器件。如產品由于人為原因而發生故障,賣方將根據原廠的原則向最終用戶收取一定的元器件成本費用.
在質保期后,賣方將定期對用戶進行現場回訪以對上述設備進行長期售后服務跟蹤,以確保其能良好的完成生產工作的需要。
終身提供備件和優質服務。
七、技術資料
1. 供方隨同設備向需方提供工廠出廠質量驗證質保書,隨機的技術資料應該齊全。
2. 供方隨同設備向需方提供中文說明書一份,包括設備安裝、操作、維護及維修手冊。
八、質量保證期
1. 設備保修期為一年。(在保修期內設備發生質量問題,勞務、備件由供方免費提供。)
2. 售后服務
2.1供方保證向需方提供優質服務,接到需方故障信息后,4小時內回應維修查詢,3-5個工作日內排除故障交付使用;
2.2 當設備保修期滿之后,依然能提供技術支持及優惠的備件供應,維修時只收取部件成本費。
九、敏化實驗


| 名稱 | 規格 | 單位 | 數量 |
| 以下配件為晶間腐蝕儀 OCT-4 | |||
| 加熱器 | 套 | 1 | |
| 控制器 | 帶斷水報警功能 | 套 | 1 |
| 燒杯 | 1000ml | 個 | 4 |
| 冷凝管裝置 | 50#磨口*430 | 個 | 4 |
| 鐵架臺 | 鐵桿L=60cm,鐵板尺寸21cm*13cm | 套 | 4 |
| 燒瓶夾 | 長24cm,最大開口6.5cm | 個 | 8 |
| 十字夾 | 2.5cm,縮后總長度8cm | 個 | 8 |
| 主管帶閥 | 5通*8mm | 套 | 1 |
| 三角閥 | 4分 | 個 | 1 |
| 喉箍 | 6-12 | 個 | 4 |
| 乳膠管 | 6mm*9mm | 包 | 1 |
| 鑷子 | 30cm圓頭 | 個 | 1 |
| 生料帶 | 卷 | 1 | |
| 電源線 | 根 | 1 | |
| 技術文件 | (1)產品說明書1份(2)產品合格證1份 | ||
| 以下配件為晶間腐蝕儀敏化實驗-A法 OCT-A | |||
| 開關電源 | DP3020(30V20A)-600W | 個 | 1 |
| 不銹鋼量杯 | 1000ML | 個 | 1 |
| 鱷魚夾測試線 | 1.5米長 | 根 | 1 |
| 鱷魚夾子 | 個 | 2 | |
| 鐵架臺 | 鐵桿L=60cm,鐵板尺寸21cm*13cm | 套 | 1 |